XD型單級旋片式真空泵結構圖及安裝尺寸圖
時間:2013/1/19 來源:浙江揚子江泵業有限公司
1、XD型單級旋片式真空泵均為單級油封式旋片真空泵,是獲得真空的基本設備,工作原理如圖1所示。
2、XD型旋片式真空泵吸氣口安裝有金屬絲網的粗過濾器。能防止固體的外來塵粒吸入泵腔。油分離器內安裝有高效油氣分離效果的排氣過渡器。停泵時,內置于吸氣口的吸氣閥使泵與被抽系統隔離,防止泵油返入被抽系統。泵由空氣冷卻。所有的泵均由直聯的電動機通過彈性聯軸器驅動。
XD型單級旋片式真空泵產品型號意義:

XD型單級旋片式真空泵產品適用范圍:
1、XD型旋片式真空泵適用于密閉系統的抽真空使用。如真空包裝、真空成形、真空吸引。
2、入口壓力范圍:100Pa~100000 Pa,超出此范圍工作真空泵排氣口將有油霧產生。XD型旋片式真空泵工作環境溫度和吸入氣體溫度應在5℃~40℃之間。
3、XD型旋片式真空泵不能抽除水或其它液體。不能抽除易爆、易燃、含氧量過高的、腐蝕性的氣體。
4、一般供應的電動機不防爆,如要求防爆或其它特殊要求時電動機必須符合相關的標準。
XD型單級旋片式真空泵產品結構圖:

單級旋片式真空泵性能參數:
|
型號及參數 |
XD-010 |
XD-016 |
XD-020 |
XD-025 |
XD-040 |
XD-063 |
XD-100 |
XD-160 |
XD-250 |
|
抽氣速率(m3/h) |
10 |
16 |
20 |
25 |
40 |
63 |
100 |
160 |
250 |
|
權限壓力(Pa) |
2ⅹ102 | ||||||||
|
時機功率(kw) |
0.37 |
0.37 |
0.75 |
0.75 |
1.1 |
1.5 |
3 |
4 |
7.5 |
|
泵轉速(轉/分) |
1440 |
1440 |
2800 |
2800 |
1440 |
1440 |
1440 |
1440 |
1440 |
|
裝油量(L) |
0.5 |
0.5 |
0.5 |
1 |
1.5 |
2 |
4 |
9 |
9 |
|
吸氣口尺寸 |
G½ |
G½ |
G½ |
G1¼ |
G1¼ |
G1¼ |
G1¼ |
G2 |
G2½ |
|
泵重量(kg) |
16 |
18 |
19 |
19 |
60 |
22 |
115 |
145 |
200 |
|
電壓(V) |
380/220 |
380/220 |
380/220 |
380/220 |
380/220 |
380 |
380 |
380 |
380 |
性能曲線圖:

安裝尺寸圖:
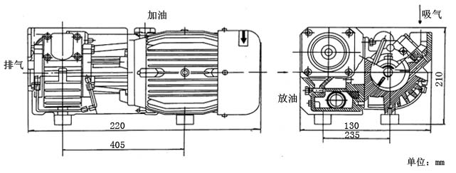
XD-010安裝尺寸
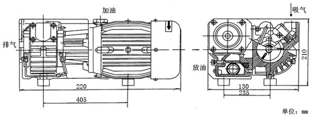
XD-020安裝尺寸
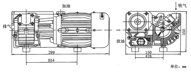
XD-040安裝尺寸

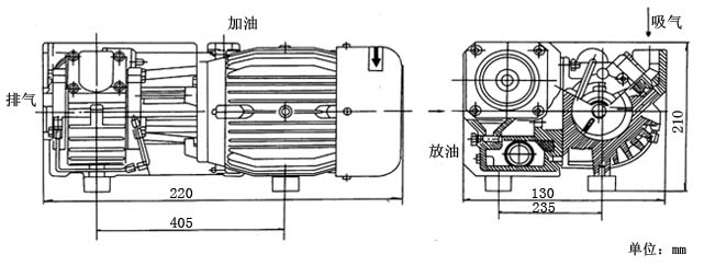
XD-063安裝尺寸
XD-100安裝尺寸
XD-160安裝尺寸
安裝方法:
1、XD型旋片式真空泵的安裝
XD型旋片式真空泵應水平安放。同于泵運轉時幾乎沒有振動一般可不固定。XD旋片式真空泵底部減振墊塊上有公制螺孔用以固定泵,不要在地面上推拉泵,以免損壞減振墊塊。
為保證XD旋片式真空泵得到良好的冷卻,泵冷卻空氣進風口和出風口應距周圍物體30cm以上。為便于維修,建議在XD旋片式真空泵進氣口和排氣口前留0.4m的空隙。為方便放油可安裝帶放油盤的底座。
XD旋片式真空泵發運的泵不帶油。安裝后,通過加油口緩慢注入所規定的真空泵油(見維護5.1)到油窗高度的3/4處。
2、XD型旋片式真空泵的電氣連接
XD旋片式真空泵電氣接線必須由專業電工進行。應使用適當的電動機過載保護裝置。
單相220V50HZ的真空泵,必須保證電壓為220V±10%范圍內工作,如電壓低于220V,必須配交流電力穩壓器。不要常時間在低壓和高壓下工作,以免損壞電機。
XD旋片式真空泵三相異步電動機接線完成后必須核對電動機旋向。電動機正確旋向為:從電動機尾部風扇端看電動機具軸的旋向為逆時針方向。
XD旋片式真空泵檢查旋向時,吸氣口應打開或用橡膠板(厚度4mm以上)完全蓋住吸氣口,接通電源2~3秒。旋向正確的話,將在吸氣口感到強大的吸力或橡膠板被告緊緊吸住。如反向則對調三根電源線的中的任意二根。
注:XD旋片式真空泵長時間在錯誤旋向下運轉,將損壞。
3、XD型旋片式真空泵的系統連接
XD旋片式真空泵進氣管截而尺寸應不小于吸氣口尺寸且盡可能短。螺紋連接處用樂泰515或鐵弗龍帶進行真空密封。
如被抽氣體中含有灰塵雜時必須在泵進氣端安裝塵土過濾器。如有必要可接管排氣,排氣管應向下傾斜。
4、XD型旋片式真空泵的起動
確定油位后可起動XD旋片式真空泵。第一次起動和每一次改變接線以后都必須核對旋向后方可起動XD旋片式真空泵。
5、XD型旋片式真空泵的運轉
正常工作之前,宜關閉進氣管閥門,使泵在極限壓力狀態下運轉15分鐘以上,這樣能有效地抽除氣體中的水蒸汽。電動機不宜頻繁啟動(宜低于6次/小時),在斷續循環工作時建議在泵進氣管道上安裝電磁閥,在非工作階段關閉電磁閥使泵在極限壓力狀態下工作,這樣電動機消耗的功率不多,但能有效地保護真空泵。
注:1.正常運轉時油分離器、泵休、泵蓋等處表面溫度將超過70℃,勿用手觸摸。
2.XD旋片式真空泵運轉時不能加油。
6、XD型單級旋片式真空泵的極限壓力測量
XD型旋片式真空泵極限壓力應直接在泵吸氣口用壓縮式真空計測量。泵首次使用、長期擱置后使用、換新油后使用都應封閉進氣口至少運轉1小時以后,使XD旋片式真空泵達到工作溫度和泵油充分脫氣后測量極限壓力。
XD型單級旋片式真空泵維護:
1、XD型旋片式真空泵的真空泵油
XD旋片式真空泵一般應使用符合SH0528-92標準規定的XD旋片式真空泵油。環境溫度在10℃~40℃時ISO~VG100粘度等級的XD旋片式真空泵油。環境溫度在0℃~10℃時使用ISO~VG32粘度等級的真空泵油。真空泵運轉時必須保證油位在油窗高度的1/2-4/5處。應經常檢查油位和油的污染情況(建議每周一次)。如油位過低應停XD旋片式真空泵加入合適的真空泵油至油窗高度的4/5處。如果油被污染油將發黑、乳化、變稠、應及時換油。
2、XD型旋片式真空泵的更換真空泵油及油過濾器
XD旋片式真空泵建議泵第一次工作滿150小時后換油。以后每工作500小時換油。換油同時,應更換油過濾器。如果油受污染發黑、乳化、變稠應及時換油。并在加入新油之前清洗泵。
清洗,換油步驟:
1、停XD旋片式真空泵將熱油放掉。
2、旋上放油塞運轉5~10秒。
3、將油放盡。
4、注入清洗用油(32號普通機械油)到油窗高度的3/4處。
5、運轉XD旋片式真空泵5~10分鐘。
6、停泵,將油放掉。如油尚不能達到要求,重復4、5步驟。
7、旋上放油塞運轉5~10鈔。
8、將油放盡。
9、注入規定的新XD旋片式真空泵油。
3、XD型旋片式真空泵的更換排氣過濾器
如果泵溫明顯升高、電動機電流達到或超過額定電流,泵排氣口有油煙產生,則應檢查排氣過濾器是否堵塞,如堵塞,應及時更換。可在泵加油孔處安裝排氣壓力表,檢查過濾器是否堵塞。當壓力超過0.6bar(表壓力)時更換排氣過濾器。
4、XD型旋片式真空泵的清洗吸氣過濾網
吸氣濾網應保持清潔,以免抽速下降。
5、XD型旋片式真空泵的貯藏
如果泵長期擱置不用,應將油放盡并清洗泵,然后注入規定的新油放置在干燥場所。
6、XD型旋片式真空泵其它
A.用戶如需訂購維修備件,請告知XD旋片式真空泵的型號和機號。泵的型號和機號可在泵的銘牌上找到。
B.因有些維護修理工作需要一定的專業知識,設備和專用工具,詳情請與制造廠聯系。
C.泵搬運中應確保無油。不能撞擊油管,油過濾器等物。
單級旋片式真空泵故障原因及排除方法:
|
XD型旋片式真空泵故障現象 |
XD型旋片式真空泵產生原因 |
XD型旋片式真空泵解決方法 |
|
1.XD型旋片式真空泵不能啟動 |
1.電機接線有誤;電壓過低 2.泵或電機卡住 3.環境溫度低于5℃油粘度大 |
1.重新接線;核對電壓 2.除卻電機風扇罩試轉泵和電機找出泵或電機 ???? 故障 3.加油前先將油加熱至30℃左右 |
|
2.XD型旋片式真空泵達不到規定的極限壓力 |
1. 泵油中有可凝物或氣體 2. 測量方法或儀器不正確 3. 用錯油或油被污染 4. 油封滲漏 5. 管路密封不嚴密 6. 油箱內油量不足 7. 進氣口濾網堵塞 8. 進氣管道過長或過窄 9. 葉片卡住或嚴重磨損 10.泵體磨損 11.“O”形圈變形老化 12.吸氣閥失效 |
1. 封閉進氣口運轉60分鐘 2. 使用正確的測量方法或儀器 3. 換規定的新油 4. 調換油封 5. 檢查管路連接處密封情況清除泄漏 6. 檢查油位 7. 清潔進氣口濾網 8. 使用粗而短的進氣管道 9. 調換葉片 10.送生產廠家修復或更換 11.調換“O”型密封圈 12.檢查吸氣閥動作是否靈活 |
|
3.泵啟動電流或工作電流很大 |
1.油劣化 2.排氣過濾器堵塞 3.環境溫度低于5℃ |
1.換規定的新油 2.調換排氣過濾器 3.提高環境溫度 |
|
4.泵油消耗大排氣有油霧油滴 |
1.泵油太多 2.排氣過濾器安裝位置不正或過濾器材料破裂 3.排氣過濾器堵塞 4.回油閥失效、回池管塞堵 |
1.放去過多的油 2.重新安裝排氣過濾器或調換排氣過濾器 3.更換排氣過濾器 4.檢查回油閥、清洗回油管 |
|
5.泵運轉非常熱 |
1.環境溫度或吸入溫度太高 2.沒有足夠的空氣通風冷卻泵 3.泵內油太多 4.泵油不足 5.油變質劣化 6.排氣過濾器污染 |
1.采取措施降溫 2.清潔電機和泵的散熱片供給足夠的流動空氣冷卻泵 3.放去多余的油 4.加油到規定油位 5.換規定的新油 6.更換排氣過濾器 |
|
6.XD型旋片式真空泵運轉噪聲大 |
1.油位過低 2.排氣過濾器堵塞 3.聯軸器彈性塊磨損 4.葉片或泵體有異味常磨損 |
1.加油 2.更換排氣過濾器 3.調換聯軸器彈性塊 4.更換磨損失效的零件 |
|
7.XD型旋片式真空泵卡住 |
1.泵無油工作或葉片折斷 2.長時間在錯誤轉向下運轉 3.滑動軸承長時間在少油或無油情況下工作咬死或軸銅套開裂 |
1.檢修泵或調換葉片 2.調正轉向檢查和調換葉片 3.加油并調換失效零件 |
感謝您訪問我們揚子江泵業的網站www.110telecom.com,如有任何水泵疑問我們一定會盡心盡力為您提供優質的服務.











