產品中心 PRODUCTS LIST
真空泵系列
您當前位置:網站首頁 >> 產品中心 >> 真空泵系列 >> SZ系列防爆水環式真空泵及壓縮機
SZ系列防爆水環式真空泵及壓縮機
SZ系列水環式真空泵及壓縮機是用來抽吸或壓縮空氣和其它無腐蝕性,不溶于水,不含有固體顆粒的氣體,以便在密閉容器中形成真空和壓力。但吸入氣體允許混有少量液體它被廣泛運用于機械、石油化工、制藥、食品、制糖工業及電子領域。 由于在工作過程中,氣體的壓縮是等溫的,所以在壓縮和抽吸易燃、易爆氣體時,不易發生危險,所以其應用更加廣泛。
目錄
SZ系列水環式真空泵概述
SZ系列水環式真空泵及壓縮機是用來抽吸或壓縮空氣和其它無腐蝕性,不溶于水,不含有固體顆粒的氣體,以便在密閉容器中形成真空和壓力。但吸入氣體允許混有少量液體它被廣泛運用于機械、石油化工、制藥、食品、制糖工業及電子領域。 由于在工作過程中,氣體的壓縮是等溫的,所以在壓縮和抽吸易燃、易爆氣體時,不易發生危險,所以其應用更加廣泛。
SZ系列水環式真空泵性能參數
| 型號 |
真空大吸氣量 (m3/min) |
壓縮機大排氣量 (m3/min) |
電機功率
(kw) |
轉速(r/min) | 水耗量(L/min) | 大真空度(%) | 大壓力(MPa) |
重量 (包括電機) Weight |
|||||||||
|
當真空度為
|
當壓力為(MPa)
|
真空泵 | 壓縮機 | ||||||||||||||
|
0%
|
40%
|
60%
|
80%
|
90%
|
0
|
0.05
|
0.08
|
0.1
|
0.15
|
||||||||
| SZ-1 | 1.5 | 0.64 | 0.4 | 0.12 | - | 1.5 | 1 | - | - | - | 4 | 5.5 | 1440 | 10 | 84 | 0.10 | 310 |
| SZ-2 | 3.4 | 1.65 | 0.95 | 0.25 | - | 3.4 | 2.6 | 2 | 1.5 | - | 7.5 | 11 | 1440 | 30 | 87 | 0.14 | 380 |
| SZ-3 | 11.5 | 6.8 | 3.6 | 1.5 | 0.5 | 11.5 | 9.2 | 8.5 | 7.5 | 3.5 | 22 | 37 | 980 | 70 | 92 | 0.21 | 1300 |
| SZ-4 | 27 | 17.6 | 11 | 3 | 1 | 27 | 26 | 20 | 16 | 9.5 | 75 | 90 | 740 | 100 | 93 | 0.21 | 2000 |
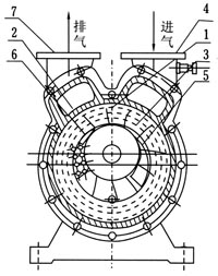
SZ系列水環式真空泵結構圖
|
1 | 葉輪 |
|
a | 底腳 |
| 2 | 泵體 |
|
|
||
| 3 | 水環 | C | 進氣管 | ||
| 4 | 進氣管 | d | 吸氣孔 | ||
| 5 | 吸氣孔 | e | 橡皮閥 | ||
| 6 | 排氣孔 | f | 排氣管 | ||
| 7 | 排氣管 | g | 排氣孔 | ||
| u | 進水孔 |
訂貨須知
一、①SZ水環式真空泵產品名稱與型號②SZ水環式真空泵口徑③SZ水環式真空泵揚程(m)④SZ水環式真空泵流量⑤SZ水環式真空泵電機功率(KW)⑥SZ水環式真空泵轉速(r/min)⑦SZ水環式真空泵壓〔V〕⑧SZ水環式真空泵吸程(m)⑨SZ水環式真空泵是否帶附件以便我們的為您正確選型。
相關文章











