FS型工程塑料離心泵FP,FPZ增強聚丙烯化工泵
目錄
FS型工程塑料離心泵產品特點
101型、102型、103型、104型、105型泵系單吸直聯式塑料離心泵是一種小型塑料泵,產品結構較先進、體積小、重量輕、耗電省、耐酸堿、密封好、維修方便。廣泛用于輸送酸、堿、鹽等腐蝕性液體上,化工、輕工、三廢治理等理想產。FP型增強聚丙烯離心泵、FS型工程塑料離心泵系列產品均采用機械密封,并引進國際先進工藝和技術配方,使用CFR-PP(增強聚丙烯)、改性ABS(工程塑料)作為泵的材質,在同系列的塑料泵產品中,充分顯示了其結構先進、重量輕、體積小、壽命長等特點。
FS型工程塑料離心泵使用范圍
廣泛應用于化工、食品、制藥、造紙、環保、水處理等部門,輸送酸、堿、鹽等腐蝕性液體。 其中104型采用220V電壓,可供家庭選用.
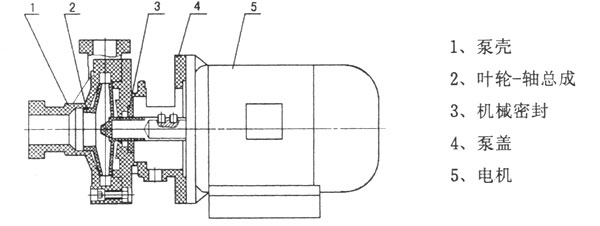
FS型工程塑料離心泵結構說明
FS型工程塑料離心泵性能參數
|
型號 |
口徑(mm) |
流量 |
揚程 |
吸程 |
轉速 |
電壓 |
電機功率 |
|
|
進口 |
出口 |
|||||||
|
FS32-25-100(104) |
32 |
25 |
5 |
7 |
6 |
2900 |
220 |
0.55 |
|
FS32-25-105(103) |
32 |
25 |
6.3 |
8 |
6 |
380 |
0.75 |
|
|
FS40-32-125(102) |
40 |
32 |
12.5 |
20 |
6 |
380 |
1.5 |
|
|
FS65-50-150(101) |
65 |
50 |
25 |
25 |
6 |
380 |
4 |
|
FP離心泵產品特點:
FP型塑料離心泵具有體積小、重量輕、結構簡單、使用方便、效率高,價格低。泵體內腔光滑,葉輪為閉式,采用機械密封和耐橡膠圈密封等二種,全軸為不銹鋼用套筒式連接。輸送介質溫度為-5℃~60℃,流量:4-100m3/h 、揚程:10-40m、轉速2900r/min。
FP型塑料離心泵主要用途:
FP型塑料離心泵主要用于輸送酸,堿,鹽等腐蝕性液體,但不得用于輸送若干對ABS工程塑料有顯著作用的化學品。大江水泵如芳烴、脂肪烴的鹵素衍生物,酮類及濃酸堿等。FP型塑料離心泵使用范圍:
適用于:化工、制藥、食品、冶煉、環保、污水處理、無機鹽等行業。
FP型塑料離心泵性能參數表:
|
型 號 |
流 量(m3/h) |
揚 程(m) |
電機功率(kw) |
轉 速(r/min) |
效 率 (%) |
進口×出口 (mm) |
|
32FP-11 |
3.6 |
11 |
0.75 |
2840 |
46 |
32×25 |
|
40FP-18 |
10 |
18 |
1.5 |
2840 |
55 |
40×32 |
|
50FP-22 |
15 |
22 |
2.2 |
2840 |
52 |
50×40 |
|
50FP-25 |
15 |
25 |
3 |
2840 |
56 |
50×40 |
|
65FP-28 |
18 |
28 |
4 |
2840 |
53 |
65×50 |
|
65FP-32 |
28 |
32 |
5.5 |
2840 |
67 |
65×50 |
|
80FP-30 |
50 |
30 |
7.5 |
2840 |
68 |
80×65 |
|
100FP-40 |
100 |
40 |
15 |
2840 |
71 |
100×80 |
塑料泵材質的耐腐蝕性能
| 介質 | 濃度 | RPP增強聚丙稀塑料 | 介質 | 濃度 | RPP 增強聚丙稀塑料 | ||||
| 25oC | 65oC | 90oC | 20oC | 60oC | 80oC | ||||
| 硫酸H2SO4 | 98% | √ | √ | О | 硫酸H2SO4 | <30% | √ | x |
|
| 70% | √ | √ |
|
30-70% | О | x |
|
||
| 1-50% | √ | √ | √ | >70% | x | x |
|
||
| 硝酸HNO3 | 濃 | √ | √ | О | 硝酸HNO3 | 10% | √ | О |
|
| 20% | √ | √ | √ | 20% | √ |
|
|
||
| 10% | √ | √ | √ | 25-35% | О |
|
|
||
|
|
|
|
|
>50% | √ | x |
|
||
| 鹽酸Hcl | 0-30% | √ | О | x | 鹽酸Hcl | >30% | √ | x |
|
| 氫氟酸 |
|
√ | x | x | 氫氟酸 | >10% | √ | x |
|
| 40-48% | √ | x |
|
||||||
| 醋 酸 | 各種濃度 | √ | √ | √ |
醋 酸
磷 酸 |
>20% | √ | О |
|
| 磷 酸 |
|
√ | √ | √ | >30% | x | x |
|
|
| 氫氧化鈉 |
|
√ | √ | √ | 氫氧化鈉 |
|
√ | √ | √ |
| 氯化鈉 |
|
√ | √ | √ | 氯化鈉 |
|
√ | √ | x |
| 氯化鈉 |
|
√ | √ |
|
|||||
| 乙 醇 |
|
√ | √ | √ | 乙 醇 |
|
√ | √ |
|
| 漂白液 |
|
√ | √ | √ | 漂白液 |
|
О | О | О |
訂貨須知
一、①工程塑料離心泵產品名稱與型號②工程塑料離心泵口徑③工程塑料離心泵揚程(m)④工程塑料離心泵流量⑤工程塑料離心泵電機功率(KW)⑥工程塑料離心泵轉速(r/min)⑦工程塑料離心泵壓〔V〕⑧工程塑料離心泵吸程(m)⑨工程塑料離心泵是否帶附件以便我們的為您正確選型。
二、若已經由設計單位選定我公司的工程塑料離心泵產品型號,請按工程塑料離心泵型號直接向揚子江泵業公司銷售部訂購。
三、當使用的場合非常重要或環境比較復雜時,請您盡量提供設計圖紙和詳細參數,由我們揚子江泵業的技術專家為您審核把關。
感謝您訪問我們揚子江泵業的網站【www.110telecom.com】,如有任何疑問.您可以致電給我們,我們一定會盡心盡力為您提供優質的服務。











