
QBY型氣動隔膜濃漿泵
1.QBY型氣動隔膜式泥漿泵吸花生醬、泡菜、土豆泥、小紅腸、果醬、蘋果醬、巧克力等。
2.泵吸油漆、樹膠、顏料。
3.粘合劑和膠水、全部種類可用泵吸取。
4.各種瓦、瓷、磚器及陶器釉漿。
5.油井鉆好后,用泵吸沉積物及灌漿。
6.泵吸各種乳劑和填料。
7.泵吸各種污水。
8.用泵為油輪,駁船清倉吸取倉內污水。
9.啤酒花及發酵粉稀漿、糖漿、糖蜜。
目錄
QBY型氣動隔膜式泥漿泵的產品概述
QBY型氣動隔膜式泥漿泵是一種新型輸送機械,是目前國內新穎的一種泵類。采用壓縮空氣為動力源,對于各種腐蝕性液體,帶顆粒的液體,高粘度、易揮發、易燃、劇毒的液體,均能予以抽光吸盡。QBY型氣動隔膜泥漿泵性能參數與聯邦德國的WLLDENPVMPS、美國的MARIOWPUMPS相近。
QBY型氣動隔膜式泥漿泵的產品特點
四種材質:鋁合金、鑄鐵、不銹鋼、工程塑料。隔膜泵根據不同液體介質分別采用丁晴橡膠、氯丁橡膠、氟橡膠、聚四氟乙烯隔膜。以滿足不同用戶的需要。QBY型氣動隔膜泥漿泵自投產以來,已被國內一千多家石油、化工、電子、陶瓷、紡織系統單位采用,安置在各種特殊場合,用來抽送種常規泵不能抽吸的介質,均取得了滿意的效果。
QBY型氣動隔膜式泥漿泵的使用范圍
1.QBY型氣動隔膜式泥漿泵吸花生醬、泡菜、土豆泥、小紅腸、果醬、蘋果醬、巧克力等。
2.泵吸油漆、樹膠、顏料。
3.粘合劑和膠水、全部種類可用泵吸取。
4.各種瓦、瓷、磚器及陶器釉漿。
5.油井鉆好后,用泵吸沉積物及灌漿。
6.泵吸各種乳劑和填料。
7.泵吸各種污水。
8.用泵為油輪,駁船清倉吸取倉內污水。
9.啤酒花及發酵粉稀漿、糖漿、糖蜜。
10.泵吸礦井、坑道、隧道、選礦、礦渣中的積水。泵吸水泥灌漿及灰漿。
11.各種橡膠漿。
12.各種磨料、腐蝕劑、石油及泥漿、清洗油垢及一般容器。
13.各種劇毒、易燃、易揮發液體。
14.各種強酸、強堿、強腐蝕液體。
15.各種高溫液體高可耐150℃。
16.作為各種固液體分離設備的前級送壓裝置
QBY型氣動隔膜式泥漿泵的主要用途
1、泵吸花生醬、泡菜、土豆泥、小紅腸、果醬蘋果漿、巧克力等。
2、泵吸油漆、樹膠、顏料。
3、粘合劑和膠水、全部種類可用泵吸取。
4、各種瓦、瓷、磚器及陶器釉漿。
5、油井鉆好后,用泵吸沉積物及灌漿。
6、泵吸各種乳劑和填料。
7、泵吸各種污水。
8、用泵為油輪,駁船清倉吸取倉內污水。
9、啤酒花及發酵粉稀漿、糖漿、糖密。
10、泵吸礦井、坑道、隧道、選礦、礦渣中的積水。泵吸水泥灌漿及灰漿。
11、各種橡膠漿。
12、各種磨料、腐蝕劑、石油及泥漿、清洗油垢及一般容器。
13、各種劇毒、易燃、易揮發液體。
14、各種強酸、強堿、強腐蝕液體。
15、各種高溫液體高可耐150℃。
16、作為各種固液分離設備的前級送壓裝置。
QBY型氣動隔膜式泥漿泵的型號意義
QBY型氣動隔膜式泥漿泵
例如:QBY-40
QBY-氣動隔膜泵
40-進出口直徑(mm)
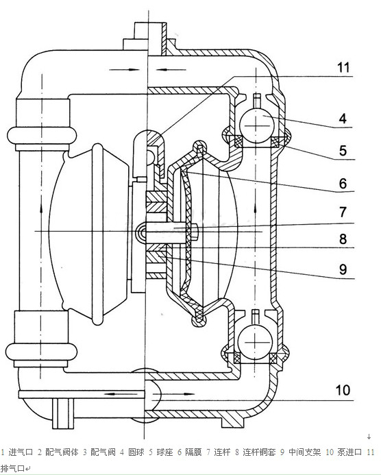
QBY型氣動隔膜式泥漿泵的結構圖

QBY型氣動隔膜式泥漿泵的性能參數
|
型 號 |
流量 |
揚程 |
出口壓力 |
吸程 |
大允許 |
大供氣壓 |
大空氣 |
|
QBY-10 |
0~0.8 |
0~50 |
6 |
5 |
1 |
7 |
0.3 |
|
QBY-15 |
0~1 |
0~50 |
6 |
5 |
1 |
7 |
0.3 |
|
QBY-25 |
0~2.4 |
0~50 |
6 |
7 |
2.5 |
7 |
0.6 |
|
QBY-40 |
0~8 |
0~50 |
6 |
7 |
4.5 |
7 |
0.6 |
|
QBY-50 |
0~12 |
0~50 |
6 |
7 |
8 |
7 |
0.9 |
|
QBY-65 |
0~16 |
0~50 |
6 |
7 |
8 |
7 |
0.9 |
|
QBY-80 |
0~24 |
0~50 |
6 |
7 |
10 |
7 |
1.5 |
|
QBY-100 |
0~30 |
0~50 |
6 |
7 |
10 |
7 |
1.5 |
QBY型氣動隔膜式泥漿泵故障排除
|
故障現象 |
可能存在的原因 |
處理方案 |
|
流體中突然有氣泡 |
物料進口端連接處漏入空氣 |
緊固修復 |
|
氣動隔膜泵的隔膜膜破裂 |
更換 |
|
|
連桿(中心軸)螺栓松動 |
緊固或更換 |
|
|
氣閥內護塊“O”型圈損壞 |
更換 |
|
|
排氣口有物料排出 |
氣動隔膜泵的膜片破裂 |
更換 |
|
連桿(中心軸)螺栓松動 |
緊固或更換 |
|
|
泵在停頓時排出大量空氣 |
檢查空氣閥,“O”型環,閥板,定位塊,U型密封件,或定位銷“O”型環 |
檢修或更換 |
|
中心軸密封件磨損 |
更換 |
|
|
泵循環停止或停止無法保持壓力 |
檢查球體、球座或“O”型圈是否磨損 |
更換。 |
|
泵不工作,或循環一次即停止 |
檢查空氣閥阻塞或骯臟 |
拆卸和清潔空氣閥,使用過濾空氣 |
|
球體、球座磨損 |
更換閥球和閥座 |
|
|
隔膜泵工作無規律 |
氣動隔膜泵進口端管路阻塞 |
檢查;清理 |
|
球體粘附或泄漏。 |
清理或更換 |
|
|
膜片破裂。 |
更換 |
|
|
排出受限。 |
去除限制原因 |
結構示意圖











