
G型單螺桿泵
G型不銹鋼單螺桿泵特點:該泵零件少,結構緊湊,體積小,維修簡單,轉子和定子是單螺桿泵的易損件,結構簡單,便于裝拆。是按迥轉嚙合容積式原理工作的新型泵種。主要工作部件是偏心螺桿(轉子)和固定的襯套(定子)。工作溫度可達120攝氏度,如果采用高溫120攝氏度—350攝氏度時可同本單位聯系。由于該二部件的特殊幾何開頭分別形成單獨的密封容腔。介質由軸向均勻推行流動。內部流速代低,容積保持不變。壓力穩定,因而不會產品渦流和攪動。每級泵的輸出壓力為0.6MPa—1.2MPa,揚程60m—120m(清水),自吸高度一般在3m以上。
目錄
G型單螺桿泵產品概述
G型單螺桿泵在發達國家已廣泛使用,國外多數稱單螺桿泵"莫諾泵"《MONOPUMPS》,德國稱"偏心轉子泵"。由于其優良的性能,近年來在國內的應用范圍也在迅速擴大。它的大特點是對介質的適應性強、流量平穩、壓力脈動小、自吸能力高,這是其它任何泵種所不能替代的。我們對國外(如:德、英、法、日本等國)生產的單螺桿泵及國內同行業的產品,作了分析與研究,博取眾長,對自已的產進行不斷的改革創新。目前我單位的產品已自成一體系,壓力為0.4∽1.2MPa,可滿足廣大用戶對單螺桿泵的不同需求。我單位生產的G型單螺桿泵,質量可靠,實行三包,價格也相對較低,同時確保備件的正常供應。本單位熱忱為廣大用戶服務,接受用戶對特殊要求單螺桿泵的設計和制造任務。
G型單螺桿泵型號意義
G型單螺桿泵使用范圍
G型單螺桿泵由于該二部件的特殊幾何形狀,分別形成單獨的密封容腔,介質由軸向均勻推行流動,內部流速低,容積保持不變,壓力穩定,因而不會產生渦流和攪動。每級泵的輸出壓力為0.6MPa,揚程60m(清水),自吸高度一般在6m以上。
因定子選用多種彈性材料制成,所以這種泵對高粘度流體的輸送和含有硬質懸浮顆粒介質或含有纖維介質的輸送,有一般泵種所不能勝任的特性。其流量與轉速成正比。
單螺桿泵結構緊湊,體積小,維修簡便。對介質的適應性強,流量平穩,壓力脈動小,自吸能力高。工作溫度可達120℃,如果需輸送120℃-350℃高溫介質,可定做。廣泛用于食品、冶金、造紙、印染、化工、化肥、制藥等工業部門。
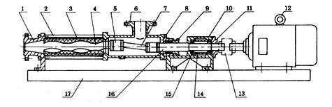
1 出料腔 2 拉桿 3 螺桿膠套 4 螺桿軸 5 萬向節總成 6 吸入口體
7 連節軸 8 填料器 9 填料壓蓋 10 軸承座 11 軸承蓋 12 電機
13 連軸器 14 軸套 15 軸承 16 傳動主軸 17 底座
G型單螺桿泵性能參數
| 型號 |
流量 (m3/h) |
壓力 (Mpa) |
允許 高轉數 (r/min) |
電機 功率 (kw) |
必需汽 蝕余量 (m) |
進口法 |
出口法 蘭通徑 (mm) |
允許顆 粒直徑 (mm) |
允許纖 維長度 (mm) |
| G20-1 | 0.8 | 0.6 | 960 | 0.75 | 4 | 25 | 25 | 1.5 | 25 |
| G20-2 | 1.2 | 1.5 | |||||||
| G25-1 | 2 | 0.6 | 960 | 1.5 | 32 | 25 | 2 | 30 | |
| G25-2 | 1.2 | 2.2 | |||||||
| G30-1 | 5 | 0.6 | 960 | 2.2 | 50 | 40 | 2.5 | 35 | |
| G30-2 | 1.2 | 3 | |||||||
| G35-1 | 8 | 0.6 | 960 | 3 | 65 | 50 | 3 | 40 | |
| G35-2 | 1.2 | 4 | |||||||
| G40-1 | 12 | 0.6 | 960 | 4 | 80 | 65 | 3.8 | 45 | |
| G40-2 | 1.2 | 5.5 | |||||||
| G50-1 | 20 | 0.6 | 960 | 5.5 | 4.5 | 100 | 80 | 5 | 50 |
| G50-2 | 1.2 | 7.5 | |||||||
| G60-1 | 30 | 0.6 | 720 | 11 | 5 | 125 | 100 | 6 | 60 |
| G60-2 | 1.2 | 15 | |||||||
| G70-1 | 45 | 0.6 | 720 | 11 | 150 | 125 | 8 | 70 | |
| G70-2 | 1.2 | 18.5 | |||||||
| G85-1 | 65 | 0.6 | 630 | 15 | 150 | 150 | 10 | 80 | |
| G85-2 | 1.2 | 30 | |||||||
| G105-1 | 100 | 0.6 | 500 | 30 | 200 | 200 | 15 | 110 | |
| G105-2 | 1.2 | 55 | |||||||
| G135-1 | 150 | 0.6 | 400 | 45 | 250 | 250 | 20 | 150 | |
| G135-2 | 1.2 | 90 |
單級,由齒輪變速、電磁調速電機加齒輪變速或無級變速電機加齒輪變速時的性能參
| 型號 | 壓力0.3Mpa | 壓力0.6Mpa | 可調轉數 | ||||||
|
轉數 (r/min) |
流量 (m3/h) |
電動機 功率 (kw) |
轉數 (r/min) |
流量 (m3/h) |
電動機 功率 (kw) |
轉數 (r/min) |
流量 (m3/h) |
電動機 功率 (kw) |
|
| G20-1 | 960 | 0.96 | 0.75-6級 | 960 | 0.8 | 0.75-6級 | 125~1250 | 0.1~1.5 | 1.1 |
| 720 | 0.8 | 0.55-8級 | 720 | 0.5 | 0.75-8級 | ||||
| 510 | 0.4 | 0.55-4級/齒輪箱 | 510 | 0.3 | 0.75-4級/齒輪箱 | ||||
| G25-1 | 960 | 2.4 | 0.75-6級 | 960 | 2 | 1.5-6級 | 125~1250 | 0.1~3 | 1.5 |
| 720 | 1.5 | 0.55-8級 | 720 | 1.27 | 1.1-8級 | ||||
| 510 | 1.08 | 0.55-4級/齒輪箱 | 510 | 0.9 | 1.1-4級/齒輪箱 | ||||
| G30-1 | 960 | 3.6 | 1.5-6級 | 960 | 3 | 2.2-6級 | 125~1250 | 0.2~4 | 2.2 |
| 720 | 2.28 | 1.1-8級 | 720 | 1.9 | 1.5-8級 | ||||
| 510 | 1.63 | 1.1-4級/齒輪箱 | 510 | 1.35 | 1.5-4級/齒輪箱 | ||||
| G35-1 | 720 | 4.8 | 2.2-8級 | 720 | 4.04 | 3-8級 | 125~890 | 0.3~5 | 3 |
| 510 | 3.36 | 1.5-4級/齒輪箱 | 510 | 2.8 | 2.2-4級/齒輪箱 | ||||
| 380 | 1.92 | 1.1-4級/齒輪箱 | 380 | 1.60 | 1.5-4級/齒輪箱 | ||||
| G40-1 | 510 | 6.8 | 2.2-4級/齒輪箱 | 510 | 5.6 | 3-4級/齒輪箱 | 125~890 | 0.3~10 | 4 |
| 380 | 5.1 | 1.5-4級/齒輪箱 | 380 | 4 | 2.2-4級/齒輪箱 | ||||
| 252 | 2.65 | 1.1-6級/齒輪箱 | 252 | 2.2 | 1.5-6級/齒輪箱 | ||||
| G50-1 | 510 | 13.8 | 4-4級/齒輪箱 | 510 | 11.5 | 5.5-4級/齒輪箱 | 80~750 | 1~18 | 5.5 |
| 380 | 10.2 | 4-4級/齒輪箱 | 380 | 7.5 | 5.5-4級/齒輪箱 | ||||
| 252 | 5.6 | 3-6級/齒輪箱 | 252 | 4.4 | 5.5-6級/齒輪箱 | ||||
| G60-1 | 510 | 20.8 | 7.5-4級/齒輪箱 | 510 | 16 | 11-4級/齒輪箱 | 63~630 | 1~20 | 11 |
| 380 | 15.6 | 7.5-4級/齒輪箱 | 380 | 12 | 11-4級/齒輪箱 | ||||
| 252 | 7.8 | 5.5-6級/齒輪箱 | 252 | 6 | 7.5-6級/齒輪箱 | ||||
| G70-1 | 510 | 26 | 11-4級/齒輪箱 | 510 | 20 | 11-4級/齒輪箱 | 56~560 | 1~22 | 11 |
| 380 | 17 | 7.5-4級/齒輪箱 | 380 | 13 | 11-4級/齒輪箱 | ||||
| 252 | 9.1 | 7.5-6級/齒輪箱 | 252 | 7 | 7.5-6級/齒輪箱 | ||||
| G85-1 | 380 | 32 | 11-4級/齒輪箱 | 380 | 25 | 15-4級/齒輪箱 | 37~370 | 2~24 | 15 |
| 252 | 21 | 7.5-6級/齒輪箱 | 252 | 16 | 11-6級/齒輪箱 | ||||
| 189 | 11 | 5.5-8級/齒輪箱 | 189 | 8 | 11-8級/齒輪箱 | ||||
| G105-1 | 380 | 80 | 15-4級/齒輪箱 | 380 | 65 | 22-4級/齒輪箱 | 29~290 | 3~50 | 22 |
| 252 | 44 | 15-6級/齒輪箱 | 252 | 34 | 22-6級/齒輪箱 | ||||
| 189 | 29 | 11-8級/齒輪箱 | 189 | 22 | 15-8級/齒輪箱 | ||||
| G135-1 | 380 | 132 | 37-4級/齒輪箱 | 380 | 120 | 45-4級/齒輪箱 | 18~180 | 3~56 | 45 |
| 252 | 95 | 30-6級/齒輪箱 | 252 | 80 | 37-6級/齒輪箱 | ||||
| 189 | 65 | 18.5-6級/齒輪箱 | 189 | 53 | 30-8級/齒輪箱 | ||||
雙級,由齒輪變速、電磁調速電機加齒輪變速或無級變速電機加齒輪變速時的性能參數
| 型號 | 壓力0.8Mpa | 壓力1.2Mpa | 可調轉數 | ||||||
|
轉數 (r/min) |
流量 (m3/h) |
電動機 功率 (kw) |
轉數 (r/min) |
流量 (m3/h) |
電動機 功率 (kw) |
轉數 (r/min) |
流量 (m3/h) |
電動機 功率 (kw) |
|
| G20-2 | 960 | 0.96 | 1.5-6級 | 960 | 0.8 | 1.5-6級 | 125~1250 | 0.1~1.5 | 1.5 |
| 720 | 0.8 | 1.1-8級 | 720 | 0.5 | 1.5-8級 | ||||
| 510 | 0.4 | 1.1-4級/齒輪箱 | 510 | 0.3 | 1.1-4級/齒輪箱 | ||||
| G25-2 | 960 | 2.4 | 1.5-6級 | 960 | 2 | 2.2-6級 | 125~1250 | 0.1~3 | 2.2 |
| 720 | 1.5 | 1.1-8級 | 720 | 1.27 | 1.5-8級 | ||||
| 510 | 1.08 | 1.1-4級/齒輪箱 | 510 | 0.9 | 1.5-4級/齒輪箱 | ||||
| G30-2 | 960 | 3.6 | 3-6級 | 960 | 3 | 3-6級 | 125~1250 | 0.2~4 | 3 |
| 720 | 2.28 | 1.5-8級 | 720 | 1.9 | 2.2-8級 | ||||
| 510 | 1.63 | 1.5-4級/齒輪箱 | 510 | 1.35 | 2.2-4級/齒輪箱 | ||||
| G35-2 | 720 | 4.8 | 3-8級 | 720 | 4.04 | 4-8級 | 125~890 | 0.3~5 | 4 |
| 510 | 3.36 | 2.2-4級/齒輪箱 | 510 | 2.8 | 3-4級/齒輪箱 | ||||
| 380 | 1.92 | 1.5-4級/齒輪箱 | 380 | 1.60 | 2.2-4級/齒輪箱 | ||||
| G40-2 | 510 | 6.8 | 4-4級/齒輪箱 | 510 | 5.6 | 5.5-4級/齒輪箱 | 125~890 | 0.3~10 | 5.5 |
| 380 | 5.1 | 3-4級/齒輪箱 | 380 | 4 | 4-4級/齒輪箱 | ||||
| 252 | 2.65 | 2.2-6級/齒輪箱 | 252 | 2.2 | 3-6級/齒輪箱 | ||||
| G50-2 | 510 | 13.8 | 5.5-4級/齒輪箱 | 510 | 11.5 | 7.5-4級/齒輪箱 | 80~750 | 1~18 | 7.5 |
| 380 | 10.2 | 4-4級/齒輪箱 | 380 | 7.5 | 5.5-4級/齒輪箱 | ||||
| 252 | 5.6 | 3-6級/齒輪箱 | 252 | 4.4 | 5.5-6級/齒輪箱 | ||||
| G60-2 | 510 | 20.8 | 15-4級/齒輪箱 | 510 | 16 | 15-4級/齒輪箱 | 63~630 | 1~20 | 15 |
| 380 | 15.6 | 11-4級/齒輪箱 | 380 | 12 | 15-4級/齒輪箱 | ||||
| 252 | 7.8 | 7.5-6級/齒輪箱 | 252 | 6 | 11-6級/齒輪箱 | ||||
| G70-2 | 510 | 26 | 15-4級/齒輪箱 | 510 | 20 | 18.5-4級/齒輪箱 | 56~560 | 1~22 | 18.5 |
| 380 | 17 | 11-4級/齒輪箱 | 380 | 13 | 15-4級/齒輪箱 | ||||
| 252 | 9.1 | 11-6級/齒輪箱 | 252 | 7 | 11-6級/齒輪箱 | ||||
| G85-2 | 380 | 32 | 18.5-4級/齒輪箱 | 380 | 25 | 22-4級/齒輪箱 | 37~370 | 2~24 | 22 |
| 252 | 21 | 15-6級/齒輪箱 | 252 | 16 | 18.5-6級/齒輪箱 | ||||
| 189 | 11 | 15-8級/齒輪箱 | 189 | 8 | 15-8級/齒輪箱 | ||||
| G105-2 | 380 | 80 | 30-4級/齒輪箱 | 380 | 65 | 37-4級/齒輪箱 | 29~290 | 3~50 | 37 |
| 252 | 44 | 30-6級/齒輪箱 | 252 | 34 | 30-6級/齒輪箱 | ||||
| 189 | 29 | 22-8級/齒輪箱 | 189 | 22 | 22-8級/齒輪箱 | ||||
| G135-2 | 380 | 132 | 55-4級/齒輪箱 | 380 | 120 | 75-4級/齒輪箱 | 18~180 | 3~56 | 75 |
| 252 | 95 | 55-6級/齒輪箱 | 252 | 80 | 75-6級/齒輪箱 | ||||
| 189 | 65 | 37-8級/齒輪箱 | 189 | 53 | 45-8級/齒輪箱 | ||||
單、雙級水煤漿工作泵的性能參數
| 泵 型 |
流量 (m3/h) |
工作壓力(Mpa) | 轉數(r/min) | 齒輪減速配套調速電機(kw) |
| G30-2 | ~1 | 1.2 | 30~300 | YCT160/4A-2.2 |
| G35-2 | ~2 | 1.2 | 30~300 | YCT160/4A-2.2 |
| G40-2 | ~3 | 1.2 | 30~280 | YCT160/4A-3 |
| G50-1 | ~4.5 | 0.6 | 28~280 | YCT180/4A-4 |
| G50-2 | ~4.5 | 1.2 | 28~280 | YCT200/4A-5.5 |
| G60-1 | ~6.5 | 0.6 | 25~250 | YCT200/4A-5.5 |
| G60-2 | ~6.5 | 1.2 | 25~250 | YCT200/4B-7.5 |
| G70-1 | ~8 | 0.6 | 25~250 | YCT200/4B-7.5 |
| G85-1 | ~12.5 | 0.6 | 18~180 | YCT225/4A-11 |
| G105-1 | ~20 | 0.6 | 14~140 | YCT225/4B-15 |
| G135-1 | ~35 | 0.6 | 10~100 | YCT250/4B-22 |
說明:
1、以上性能參數是常溫清水試驗時的試驗數據;
2、對于不同的介質、不同的轉速,性能參數都將變化,其流量值與濃度、粘度成反比,與轉速成正比;
3、用戶必須根據使用要求、輸送介質的狀況、選型原則選擇泵的類型,或者和本公司技術部門協商來決定泵的類型。
4、對于水煤漿泵傳動形式為齒輪調速配套電磁調速電機或機械無級變速電機,流量隨轉速變化無級可調。
螺桿泵與其他泵類的優勢比較
2、與柱塞泵相比螺桿泵具有自吸能力強、吸入高度強;
3、與隔膜泵相比螺桿泵可輸送各種混合雜質含有氣體及固體顆粒或纖維的介質,也可輸送各種腐蝕性物質;
5、與柱塞泵,隔膜泵及齒輪泵不同的是,螺桿泵可用于藥劑填充和計量。
G105-1齒輪調速單螺桿泵實物圖
G35-1帶料斗304不銹鋼防爆電機單螺桿泵











