SK型懸臂式水環真空泵的用途及使用范圍
時間:2011/7/3 來源:浙江揚子江泵業有限公司
一、SK型懸臂式水環真空泵的用途及使用范圍:
SK懸臂式水環真空泵SK-0.4、SK-0.8 、SK-1.0 、SK-1.5B型水環泵是用來抽吸空氣和其它無腐蝕性、不溶于水、不含有固體顆粒的氣體,以便在密閉容器中形成真空。吸入氣體中允許含有少量液體。
SK懸臂式水環真空泵廣泛用于機械、石油、化工、制藥、食品、陶瓷印染、冶金等行業,還特別適合作大型水泵引水用。
由于在工作過程中,氣體的壓縮是等溫的,在抽吸具有腐蝕性、易燃、易爆的氣體時,不易發生危險,所以其應用更加廣泛。
二、SK型懸臂式水環真空泵的工作原理:
![]() |
SK懸臂式水環真空泵為懸臂式結構,如圖一所示、葉輪(1)偏心的裝在泵體(2)內,因此當葉輪旋轉時,水受離心力的作用,在泵壁上形成一旋轉水環(3),水環上部與輪轂相切,沿箭頭方向旋轉,在前半轉的過程中,水環內表面逐漸與輪離,因此在葉輪片間形成空間并逐漸擴大,這樣就從吸氣口吸入氣體,在后半轉的過程中,水環內表面逐漸與輪轂靠近,葉片間的空間體積逐漸減小,葉片間的氣體被壓縮而排出。
SK懸臂式水環真空泵如此,葉輪每旋轉一周,葉片間的空間積就改變一次,每個葉片間的水便活塞一樣往復一次,SK懸臂式水環真空泵就連續不斷的抽吸氣體。
由于在工作中,水會發熱,同時一部分水和氣體一塊排起,所以泵在工作中,必須不斷的供給冷水,以冷卻和補充泵內消耗的水。
當SK懸臂式水環真空泵排出的氣體是廢氣時,在排氣端可接一水箱,廢氣和帶出的一部分水排入水箱后,氣體再由水箱的排氣管排出,而水就落入水箱的底部經回水管再回到泵內使用。如果水循環時間長了水便發熱,這時再從水箱供水處供給一定能量的冷水。
三、SK型懸臂式水環真空泵主要技術數據:
| 型號 |
大氣量 M3/MIN |
真空度450MMHG 時氣量M3/MIN |
極限真空 MMHG |
轉速 R.P.M |
電機功率 KW |
水耗量 L/MIN |
| SK-0.4 | 0.4 | 0.36 | 700 | 2860 | 1.5 | 4-8 |
| SK-0.8 | 0.8 | 0.75 | 700 | 2860 | 2.2 | 5-10 |
| SK-1.0 | 1.0 | 1.0 | 700 | 2860 | 3.0 | 6-8 |
| SK-1.5B | 1.5 | 1.35 | 700 | 2860 | 4.0 | 8-12 |
注:SK懸臂式水環真空泵表中列數據在下列條件下得出:
1、大氣壓力0.1013Mpa(760mmHg)
2、進水溫度15℃
3、吸入空氣溫度20℃
4、空氣相對濕度70%
5、性能允許偏差±10%
四、SK懸臂式水環真空泵的性能曲線:
![]() |
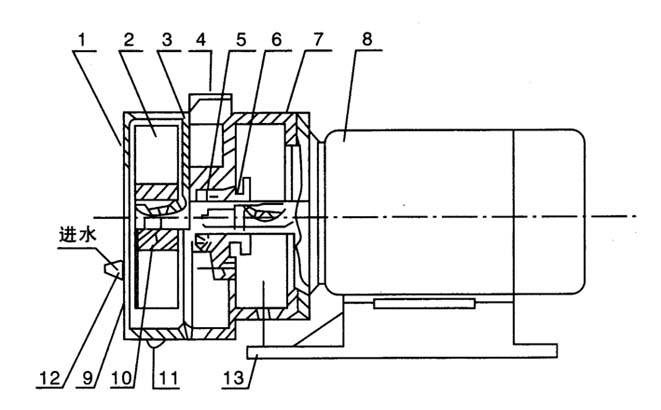
五、SK型懸臂式水環真空泵的結構說明:
![]() |
SK型懸臂式水環真空泵的結構如圖二所示:主要是由泵蓋、葉輪、泵體組成,泵體上部有進排氣口法蘭,軸偏心裝在泵體內,葉輪用平鍵固定于軸上,葉輪與泵蓋及圓盤間的間隙,用泵體和圓盤之間間的墊子來調整,此間隙決定氣體在泵內由進氣口至排氣口流動中損失的大小。
填料裝在泵體內,密封水經泵體上的針孔流入填料中,葉輪形成水環所需的補充水經由泵體上的彎頭供給,它可與自來水或汽水分離器聯在一起,供給循環水。
在圓盤上排氣孔下面有幾行圓孔,用橡皮球閥關閉,這些孔的作用是當葉片間氣體壓力達到排氣力時,在排氣口之前就將氣體自動放出,因此減少因氣體壓力過大而消耗功率。
六、SK型懸臂式水環真空泵的汽水分離器及安裝說明:
![]() |
(1)用膠管或塑料管將水咀(見圖二中12)與自來水連接進行供水,并在此供水管路上安裝水閥調節水量。(供水量的大小對其性能有直接的影響)
(2)真空泵用來作水泵引水用時,應將吸氣口聯接在水泵的排水口與管路閥門之間。
(3)從電機端看泵為逆時針旋轉。(左邊為吸氣口,右邊為排氣)。SK-1.5B為順時針旋轉。
(4)真空泵吸氣管道不可有漏氣現象,其地基尺寸以安裝圖或以實物測量進行安裝。
(5)SK型懸臂式水環真空泵若安裝汽水分離器,可參看圖四。
七、SK型懸臂式水環真空泵的使用維護說明:
1、SK型懸臂式水環真空泵啟動前,須檢查電機旋轉方向是否與泵的旋轉方向相符。啟動真空泵后,再調節進水量的大小,然后檢查填料壓緊是否適當 (填料正常壓緊是能夠使泵中的水成滴的向外漏出),SK-1.5B應先加水再啟動真空泵,再調節進水量的大小,軸承運轉潤滑是否正常。
2、SK型懸臂式水環真空泵啟動以后,須觀察是否有振動,細聽SK型懸臂式水環真空泵內是否有雜聲,并測定填料函和軸承溫度(正常軸承溫度不得比環境溫度高出35℃,工作溫度不得高于70℃)若溫度超高,應立即停車檢查原因。
3、SK型懸臂式水環真空泵作為水泵真空引水用時,其運轉期間將水泵內的空氣全部吸出,直到SK型懸臂式水環真空泵內吸出水來以后,即開動水泵,待水泵正常工作后將真空泵停車,并將吸氣管路的閥門關閉。
4、SK型懸臂式水環真空泵停車順序
(1)關閉進氣管路上閘閥
(2)關閉供水管路上閘閥,停水后不宜立即停泵,應使泵繼續運轉1-2分鐘排出部分工作液。機械密封應先停泵再停水。
(3)關閉電動機。
(4)如果停車時間超過一天,須將泵蓋底部的螺塞打開,將泵體內水放凈。
5、SK型懸臂式水環真空泵在下列條件下使用時,應加附屬設備。
(1)被告抽除空氣或氣體中含有灰塵,必須在進氣管上安裝過濾器。
(2)被抽氣體中含有大量蒸氣時,必須在進氣管上安裝冷凝器。
(3)抽除帶有腐蝕性氣體時,在進入泵前必須進行中和。
(4)被抽氣體的溫度超過35℃時,在進入泵前必須經過冷凝裝置,以保證溫度不超過35℃。
(5)被抽氣體中含有大量液體時,必須在進氣管前裝汽水分離器。
(6)SK型懸臂式水環真空泵的起動電流往往是電機額定電流幾倍,必須配用起動開關。
注:①本單位SK型懸臂式水環真空泵隨技術改進等原因,不經預告可變更。
②本單位SK型懸臂式水環真空泵在保修期內不經本單位允許,不得隨意拆卸。
八、SK型懸臂式水環真空泵的起動及停車:
(1)SK型懸臂式水環真空泵起動:
經過長期停車的泵在開動以前,必須用手轉動聯軸器數周,以便證實沒有卡住或損傷現象。
1.關閉進氣管上的閘閥(2)(圖11)。
2.SK型懸臂式水環真空泵如果排氣管上裝有閘閥(9)也應將其關閉。
3.向填料函和氣水分離器內注水。
4.當氣水分離器往外溢水時,開動電動機。
5.全開由氣水分離器向泵給水管路(6)上的球形閥(7)。
6.打開排氣管上的閘閥(9)。
7.打開進氣管上的閘閥(2)。
8.用球形閥(7)調整由氣水分離器向SK型懸臂式水環真空泵送水的水量,以便在所要求的技術條件下下運轉,使功率功耗小。
9.調整由進水管(5)向氣水分離器的送水量,以便用小的水量消耗,保證泵所要求的技術規范。
10.調整向填料函的送水量,以便用小的水量消耗保證填料函的密封性,真空泵在極限真空度下工作時,由于泵內產生
物理作用而產生爆炸聲,但功 率消耗量并不增大。
隨著功率消耗的提高而產生的爆炸聲,表示泵發生了毛病,此時泵應停車。
(2)SK型懸臂式水環真空泵停車,車按以順序:
1.關閉進氣管上的閘閥(2)(圖11)。
2.關閉排氣管上閘閥(9)。
3.關閉電動機。
4.停止向填料、氣水分離器內注水。
5.當氣不分離器溢水管停止向外溢水后,關閉向泵注水管路。
6.上緊球形閥。
7.如SK型懸臂式水環真空泵停車時,必須擰開泵及氣水分離器上的管堵把水放凈。
九、SK型懸臂式水環真空泵的維護:
1.SK型懸臂式水環真空泵應定期的壓緊填料,如填料因磨損而不能保證所需要的密封性時,應換新填料,填料不能壓的過緊,正常壓緊的填料允許水成滴漏出,其量不得太多,應用油浸的石棉繩作填料。
2.SK型懸臂式水環真空泵經常檢查滾球軸承的工作和潤滑情況。
3.SK型懸臂式水環真空泵正常工作的滾動軸承,其溫度比周圍溫度高15℃~20℃,高不允許超過55℃~60℃,正常工作的軸承每年應裝油3~4次。每年至少清洗軸承一次,并將潤滑油全部更換。
- 下一篇:機械真空泵油的特點及用途
- 上一篇:SZ型水環式真空泵的用途及規格















